Nikola Tesla
   
   
Documenti
 

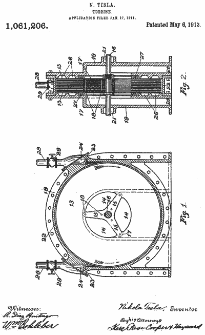
Brevetto      1,061,206    Turbine 

 
brevetti Tesla
rit. Tesla

Cenni biografici

documenti

Cronologia
Indice Scienziati
Bibliografia
Glossario
--